티스토리 뷰

기술로 증명하는 글로벌 경쟁력, 경원테크는 지금 세계를 향해 나아가고 있습니다.
아직 해외 수출은 초기 단계지만, 세계 각국의 현장을 발로 뛰며 제품력을 알리고 있는 경원테크.
탄탄한 기술과 끊임없는 현장 중심 연구개발로, '해외 바이어가 먼저 주목하는' 브랜드로 성장 중입니다.
◉ 목차
- 경원테크는 어떤 기업인가?
- 어떤 제품을 수출 준비 중인가?
- 왜 해외에서 경원테크에 관심을 가지는가?
- 글로벌 시장을 향한 경원테크의 전략
- 마무리 및 해외 파트너 문의 안내
1. 경원테크는 어떤 기업인가?
국내 최초 굴삭기집게 개발 사용화, 리쪽도 경원이 처음만든 상표로 제품화, 회전암 국내최초 개발 특허 보유
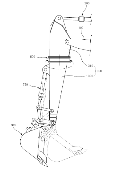
경원테크는 굴삭기 어태치먼트 전문 제조기업으로, 회전링크, 회전암, 틸트링크, 리쪽, 다용도 집게(독수리집게) 등 다양한 장비를 자체 기술로 설계하고 제작합니다.
특히 다음과 같은 ‘국내 최초’ 기술력은 경원테크만의 차별화된 경쟁력입니다.
▶ 독수리집게: 국내 최초로 붐대에 용접하지 않고 링크에 거는 구조를 상용화, 안정성과 작업 편의성을 모두 잡은 원조 기술.
▶ 회전링크: **굴삭기 붐 끝단(2붐)**에 장착되던 기존 퀵커플러를 대체하여, 회전이 가능하도록 개발한 어태치먼트.
국내 최초로 회전링크 시스템을 상용화하여, 간단한 설치만으로도 회전기능을 구현할 수 있게 만든 제품입니다.
▶ 회전암: 2붐 자체를 개조하여 구조 내부에서 회전이 이루어지는 설계로, 내구성과 안정성 모두 뛰어남.
특히 집게, 틸트링크와의 조합을 통해 회전+틸팅+집게 기능을 동시에 구현할 수 있다는 점은 현장 작업 효율을 획기적으로 높입니다.
1) 리쪽


2015 당시 제품 시연 하는 영상
2) 회전암
2014년 09월 국내 특허로 최초 등록


2015년 6월 유튜브 업로드 영상
2015년 12월 업로드한 영상
2. 어떤 제품을 수출 준비 중인가?
경원테크는 해외 수요에 대응하기 위해 다음과 같은 핵심 제품 라인업을 글로벌 기준에 맞춰 준비하고 있습니다.
▶ 다용도 집게(독수리집게) – 철거, 집재, 파이프 작업 등 다양한 활용 가능
▶ 회전링크 – 퀵커플러 교체만으로 회전기능 추가, 장착과 관리가 간편
▶ 회전암 – 구조 내부 회전, 내구성 및 안정성 우수, 틸트·집게와 복합 작업 가능
▶ 틸트링크 – 경사 작업 및 사선 파기 등 정밀도 요구 현장에 강력 대응
▶ 리쪽 – 미니굴삭기부터 대형 장비까지 다양한 라인업 보유

3. 왜 해외에서 경원테크에 관심을 가지는가?
해외 전시회, 바이어 미팅, 현장 시연 등을 통해 세계 각지에서 경원테크의 제품에 관심을 보이고 있습니다.
비록 아직 수출 실적은 초기 단계지만, 제품 자체만으로 "이건 현장에서 통하겠는데?"라는 평가를 받고 있습니다.
① 자체 설계 기반의 고품질
② 유럽 및 중국 강제 인증 CE, CCC 등 글로벌 인증 획득
③ 국내 주요 현장 레퍼런스를 통한 기술 검증
④ 미니기종부터 대형기종까지 다양한 라인업
⑤ 내구성과 안전성 중심의 설계 철학

4. 글로벌 시장을 향한 경원테크의 전략
경원테크는 다음과 같은 전략으로 글로벌 시장 진출을 준비하고 있습니다.
① 해외 전시회 및 테스트마켓 참가 확대
② 현지 딜러 및 B2B 파트너 발굴
③ 제품 매뉴얼, 부품공급 체계 글로벌화
④ 수출 대상 국가별 인증 및 설계 기준 맞춤 대응
⑤ 장기적으로 현지 법인 및 서비스센터 설립 계획 수립 중
현재는 동남아시아·중동·유럽 일부 지역을 중심으로 실사 및 샘플 테스트를 진행하며 수출 기반을 다지고 있는 단계입니다.

5. 마무리 및 해외 파트너 문의 안내
경원테크는 아직 수출 실적을 앞세우진 않습니다.
하지만, 기술로 증명하는 기업, 현장에서 먼저 반응하는 어태치먼트,
그리고 성장을 향해 발로 뛰는 현장 중심 기업으로, 조용히 세계로 진입하고 있습니다.
한국에서 먼저 인정받은 기술,
이제 세계 시장에서 그 진가를 보여줄 차례입니다.
📩 해외 파트너 및 대리점 문의: KWTC2012@naver.com
📞 대표번호: 043-881-9757 / 1577-4909
🌐 홈페이지: http://kyungwontech.co.kr
'굴삭기 비지니스' 카테고리의 다른 글
| 2025년 한국 굴삭기 시장, 정말 “나만 힘든” 게 아니다|데이터로 본 수요·등록·제조업 타격 (3) | 2025.10.09 |
|---|---|
| 굴삭기 집게, 왜 경원테크가 좋은가? 구조적 차이에서 나오는 진짜 성능 (26) | 2025.04.22 |
| 굴삭기 집게, 효율을 바꾸는 작은 차이 – '어떤 걸 써야 후회하지 않을까?' (2) | 2025.04.16 |
| 기술과 신뢰의 이름, 경원테크 (0) | 2025.04.11 |
| 굴삭기 회전링크 vs 회전암, 뭐가 더 좋을까? (0) | 2025.04.11 |
